Cages à lapins DIY : comment faire ?

Cages à lapins DIY : comment faire ?

Tous ceux qui élèvent des lapins savent avec certitude que vous ne pouvez pas vous passer d'une bonne cage. Si vous les achetez, il s'agit d'une dépense continue, et il existe également un risque constant que les animaux de compagnie souffrent de matériaux de mauvaise qualité ou de montures dangereuses. Nous proposons de fabriquer une cage de vos propres mains, car rien de spécial n'est nécessaire pour les lapins. On dit et on montre !

Types et matériaux

Gardez à l'esprit que vous ne pouvez pas vous passer de cages lorsque vous élevez des lapins domestiques. Ils sont sensibles aux maladies, sensibles aux changements climatiques, ne savent pas s'arrêter à temps en mangeant et se transforment "en pâturage libre" en véritables ravageurs. Après tout, ce n'est tout simplement pas sûr pour les petits animaux.

En pratique, les cages se sont avérées beaucoup plus pratiques que les enclos. Lors du choix, tenez compte de qui il sera exactement destiné - pour les lapins de grande taille ou nains, les jeunes animaux, les mâles ou les femelles, les races d'ornement. En taille, ils peuvent être des formes et des configurations complexes à un ou deux niveaux, à plusieurs niveaux.

Types et matériaux - Cages à lapins DIY

Des cages fixes avec isolation et auvent sont installées dans les rues. Les lapins peuvent y vivre toute l'année, seules une bonne protection contre le vent et une humidité optimale sont nécessaires. Et il y a des cages toute l'année pour les locaux, mais la pièce doit être bien éclairée pendant au moins 8 à 10 heures. Une alternative est des structures mobiles combinées qui peuvent être réaménagées en fonction de la saison.

Nous vous recommandons d'utiliser des blocs de bois pour le cadre et le support, et du contreplaqué, des planches et des filets métalliques pour les murs. Les panneaux en bois ou en plastique conviennent à la décoration extérieure décorative. Au moins une partie du sol doit être en treillis pour un nettoyage facile.

L'essentiel est de ne pas utiliser de métal pur, car il fait très chaud avec la chaleur et gèle en hiver. Nous ne recommandons pas non plus les panneaux de particules, le contreplaqué bon marché et d'autres matériaux douteux ou artificiels qui peuvent être simplement toxiques pour les animaux.

Types et matériaux - Cages à lapins DIY

Étapes de fabrication de cages pour lapins

Pour les lapins adultes ou les petits lapins, des cages simples à une ou deux sections suffisent. Vous aurez besoin de bois, de feuilles de contreplaqué, d'attaches en métal galvanisé et de branches avec du foin à remplir.

Entraînement

Utilisez des poutres standard 40x40x3000 ou 50x50x3000 mm et du contreplaqué d'une épaisseur de 9-12 mm. Pour renforcer les structures à plusieurs niveaux, des tuyaux en acier de 2 cm conviennent, mais ils ne peuvent pas être en contact avec les animaux. Le maillage doit être galvanisé et plutôt petit - un maximum de 20x20 mm, ou mieux moins. Utilisez des vis autotaraudeuses d'une longueur de 30 à 70 mm pour fixer les éléments.

Préparation - DIY cages à lapins

Cadre

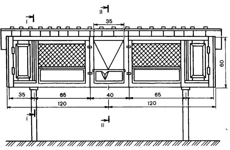
Les dimensions de la cage à lapin la plus simple sont d'environ 120x70x50 cm, ce qui est largement suffisant pour que les animaux se sentent à l'aise. Pour commencer, réalisez un cadre d'environ un mètre et demi de long et 70 cm de haut. Séparez l'arrière et l'avant des cages - 35 et 55 cm chacune.

Cadre - Cages à lapins DIY
Cadre - Cages à lapins DIY

Sections internes

Nous avons combiné l'ensemble du cadre avec du contreplaqué et séparé une section pour un nid à l'intérieur, où il serait possible de mettre une maison et une maison mère pour un lapin. Placez la même cloison en contreplaqué entre les sections, mais avec un passage. Les portes de la cage doivent être des deux côtés, mais dans le nid, il y en a une solide sur les charnières, et dans le compartiment habituel, il y a une maille fine.

Sections intérieures - Cages à lapins DIY

Sol et toit

Le sol solide de la cage n'est pas très facile à nettoyer, alors faites-le comme ça uniquement dans le compartiment du nid. Dans la section principale, utilisez une maille fine ou des lattes de bois avec de petits espaces et placez une palette spacieuse en dessous. Fabriquez le toit en contreplaqué, en polycarbonate ou en ardoise et fixez-le avec des charnières pour qu'il soit facile à enlever.

Sol et toit - Cages à lapins DIY
Sol et toit - Cages à lapins DIY

Pose des cages

Dans la rue, la cage doit obligatoirement reposer sur des poutres d'au moins 70 cm de hauteur afin que les nuisibles, rongeurs et autres animaux ne puissent pas atteindre les lapins. Poncez les irrégularités et les écorchures pour éviter de blesser les lapins.Gardez des lapins du même âge, de la même taille et du même tempérament dans la même cage.

Installation de la cage - Cages à lapin bricolage

Cages à lapins DIY - photos et idées

Les cages à lapins sont en réalité beaucoup plus diversifiées et, en plus des cages universelles, il existe des cages spécialisées - pour l'élevage, les jeunes animaux ou les besoins industriels. Nous partageons quelques autres idées qui vous seront utiles, et que vous pouvez également faire de vos propres mains !

Cellules à un seul niveau

C'est la cage rectangulaire la plus simple avec des barres de support pour la sécurité et la facilité d'entretien. Le toit est généralement aussi le toit à une seule pente le plus simple - les restes d'ardoise feront l'affaire. Au lieu de cela, vous pouvez utiliser n'importe quel revêtement en rouleau, mais une rampe est nécessaire pour l'évacuation de l'eau. Installez une palette avec une gouttière en bas.

Cages à un niveau bricolage pour lapins
Cages à un niveau bricolage pour lapins
Cages à un niveau bricolage pour lapins
Cages à un niveau bricolage pour lapins
Cages à un niveau bricolage pour lapins

Cages à plusieurs niveaux

En fait, le nombre de niveaux dans les cellules peut être absolument quelconque - et ces cellules sont collectées les unes sur les autres comme un constructeur. Ils sont également appelés "hangars", et entre les blocs, il est nécessaire d'équiper des cloisons et des égouts. Cela économise considérablement de l'espace et simplifie le nettoyage et l'entretien, car tous les animaux sont au même endroit.

Pour soutenir une structure lourde, au lieu de poutres, empilez des briques les unes sur les autres. Les abris de rue doivent être isolés afin que les lapins ne gèlent pas ou ne surchauffent pas.

Cages à lapins à plusieurs niveaux
Cages à lapins à plusieurs niveaux
Cages à lapins à plusieurs niveaux
Cages à lapins à plusieurs niveaux
Cages à lapins à plusieurs niveaux

Cages pour jeunes animaux

Pour les petits lapins jusqu'à trois mois, la cage à un seul niveau la plus simple suffit à raison d'environ 0,15 mètre carré par lapin. Il peut y avoir de huit à vingt pièces au total. La hauteur optimale d'une telle cage est de 35 à 40 cm.

Il est beaucoup plus pratique de garder les petits lapins ensemble et vous pouvez même installer plusieurs progénitures du même âge à la fois - jusqu'à vingt pièces. L'isolation et la protection contre le vent sont impératives, car les bébés peuvent tomber malades plus rapidement. Les bébés lapins attirent tous les prédateurs, y compris les chats domestiques, alors assurez-vous que la cage est sûre.

Cages pour jeunes animaux - Cages à lapins bricolage
Cages pour jeunes animaux - Cages à lapins bricolage
Cages pour jeunes animaux - Cages à lapins bricolage
Cages pour jeunes animaux - Cages à lapins bricolage
Cages pour jeunes animaux - Cages à lapins bricolage
Cages pour jeunes animaux - Cages à lapins bricolage

cages à lapins nains

Pour les petites espèces décoratives, des alvéoles plus petites suffisent. Laissez le mur du fond être 15 cm plus bas que les côtés - installez-le de manière à ce qu'il y ait un espace en dessous. Fixez plusieurs lattes larges au fond de la cage et posez une maille fine sur le dessus. Utilisez le même maillage pour faire un toit rétractable et une porte.

Cages de lapin nain bricolage
Cages de lapin nain bricolage
Cages de lapin nain bricolage
Cages de lapin nain bricolage
Cages de lapin nain bricolage

Cages pour gros lapins

Pour la race californienne ou les lapins géants, des cellules plus grosses sont nécessaires, car elles peuvent atteindre 5 à 7,5 kg. Ce sont principalement des lapins qui sont élevés pour la viande. Dans les cages ordinaires, ils sont trop exigus et il est impossible de garder des géants avec des petites races ordinaires.

Pour un adulte, vous avez besoin de 0,5 mètre carré et pour une couvée de lapins - environ 1,4 mètre carré pour tous. Habituellement dans la progéniture jusqu'à huit oursons - et dans ce cas, nous ne recommandons pas de combiner plusieurs familles. Utilisez des coins métalliques et de la tôle pour renforcer les structures à plusieurs niveaux.

Cages de bricolage pour gros lapins
Cages de bricolage pour gros lapins
Cages de bricolage pour gros lapins
Cages de bricolage pour gros lapins
Cages de bricolage pour gros lapins
Cages de bricolage pour gros lapins

Cages pour okrol

Ce sont des cages spécialisées pour les lapines gravides qui ont besoin de paix et de tranquillité. Des cages à un niveau pour l'enclos sont cachées dans la grange contre le mur loin des fenêtres. Il doit y avoir une section pour la liqueur mère et le chauffage.

Les femelles à cette époque sont complètement sans prétention aux conditions, mais elles ont besoin de paix et de tranquillité, car dans leur environnement naturel, elles se cachent dans des trous dans lesquels il fait chaud et sombre. N'utilisez pas de radiateurs électriques ou de radiateurs pour le chauffage - accrochez une lampe ordinaire ou posez des câbles spéciaux.

Cages pour okrol - Cages à lapins DIY
Cages pour okrol - Cages à lapins DIY
Cages pour okrol - Cages à lapins DIY
Cages pour okrol - Cages à lapins DIY
Cages pour okrol - Cages à lapins DIY
Cages pour okrol - Cages à lapins DIY

Les cellules de Mikhailov

Il s'agit d'une mini-ferme entière pour l'élevage de masse de lapins avec un minimum d'effort de votre part. Ces cages sont censées avoir des systèmes automatisés d'alimentation, de nettoyage et de chauffage. À la maison, de telles fermes sont rarement fabriquées, car elles sont axées sur une utilisation industrielle.

Les cages de Mikhailov - Cages à lapins DIY
Les cages de Mikhailov - Cages à lapins DIY
Les cages de Mikhailov - Cages à lapins DIY
Les cages de Mikhailov - Cages à lapins DIY
Les cages de Mikhailov - Cages à lapins DIY
Les cages de Mikhailov - Cages à lapins DIY

Cages d'accouplement

Les lapins de sexe différent doivent être gardés séparément, mais ils sont réunis pour l'accouplement. Pour plus de commodité, les cages pour lapins adultes sont montées dans une structure à plusieurs niveaux et une cloison amovible est installée entre elles. Ainsi, les animaux n'ont pas besoin d'être constamment déplacés dans les deux sens.

Cages d'accouplement - Cages à lapins bricolage
Cages d'accouplement - Cages à lapins bricolage
Cages d'accouplement - Cages à lapins bricolage
Cages d'accouplement - Cages à lapins bricolage
Cages d'accouplement - Cages à lapins bricolage
Cages d'accouplement - Cages à lapins bricolage

Cellules de Zolotoukhine

Il s'agit du développement d'un éleveur de lapins bien connu pour les tâches ménagères, contrairement aux cellules de Mikhailov, qui sont orientées à l'échelle industrielle. Les cages ont un sol en ardoise solide ou en contreplaqué sans palettes. Ce n'est qu'à l'arrière qu'il y a un insert en maille étroite jusqu'à 20 cm de large, et selon de nombreuses années de recherche, c'est là que les animaux eux-mêmes apprendront à déverser leurs déchets.

Les cages classiques utilisées par Zolotukhin lui-même sont des structures à trois niveaux de six blocs. Ils sont installés les uns sur les autres en terrasses avec un petit renfoncement de la largeur de la maille dans le sol. Les parois arrière des deux premiers niveaux sont montées à un angle de sorte que les déchets s'écoulent du haut vers le bas, et non vers le niveau inférieur.

Une section séparée pour la maison mère n'est pas fournie - le lapin s'équipera lui-même d'une maison. Pour l'hiver, vous pouvez réaliser une petite maison mobile sous la forme d'une caisse en contreplaqué 30x30x16 cm.Les mangeoires sont installées sur les portes pour les rendre plus faciles à nettoyer et à remplir.

Cages Zolotukhin - Cages à lapins bricolage
Cages Zolotukhin - Cages à lapins bricolage
Cages Zolotukhin - Cages à lapins bricolage
Cages Zolotukhin - Cages à lapins bricolage
Cages Zolotukhin - Cages à lapins bricolage
Cages Zolotukhin - Cages à lapins bricolage

Vidéo : DIY cage à lapin - étape par étape

la beauté

maison et famille

Jardin